Granting of a patent for the invention of static calibration of torque sensors

Patented invention from our workshop

The Industrial Property Office of the Slovak Republic granted patent number 289380 for an invention under Section 44(4) of Act No. 435/2001 Coll. on patents, supplementary protection certificates and amendments to certain acts, as amended, under the title Method of static calibration of torque sensors and device for performing this method.

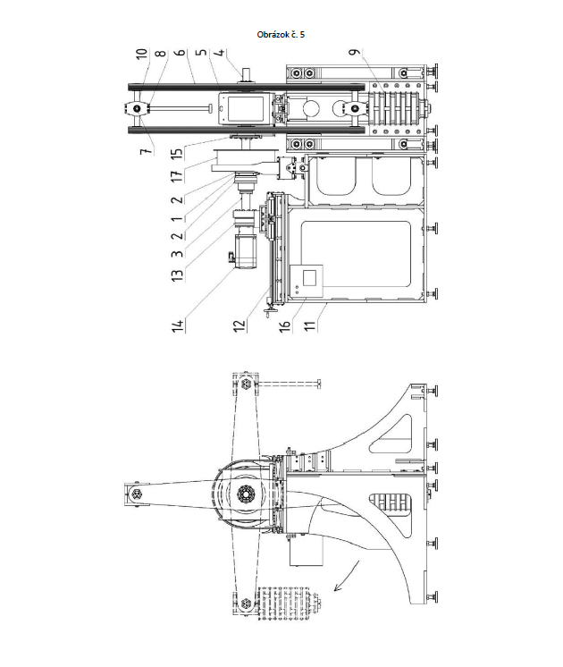
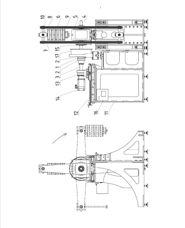
The invention falls within the field of metrology, specifically the field of calibration, i.e., metrological traceability of torque. The method of static calibration of torque sensors is performed by generating a load on the sensor by changing the angle of inclination of the arm or by changing the weight of the load, or by a combination of both. The result of the calibration is that the value indicated by the sensor is compared with the true value of the torque calculated from the known length of the arm, the value of the angle gauge reading, and the value of the force caused by the weight of the weights.

The device for static calibration of torque sensors consists of a frame with a linear guide on which a gearbox with a drive is mounted, which is firmly connected by shaft A to the sensor, removably mounted between the connecting accessories. The accessories are firmly connected to shaft B, supported in a central bearing, and to the arm. At the end of the arm there is a pin and a secondary bearing with a hanger on which the weights are suspended. The angle gauge and brake are located on shaft B and on the frame to which the control unit is attached.

Responsible for content Martin Lipták.

Back