Udelenie patentu na vynález statickej kalibrácie snímačov momentu sily

Patentový vynález z našej dielne

Úrad priemyselného vlastníctva Slovenskej republiky udelil podľa § 44 ods. 4 zákona č. 435/2001 Z. z. o patentoch, dodatkových ochranných osvedčeniach a o zmene a doplnení niektorých zákonov v znení neskorších predpisov patent číslo 289380 na vynález, pod názvom, Spôsob statickej kalibrácie snímačov momentu sily a zariadenie na vykonávanie tohto spôsobu. 

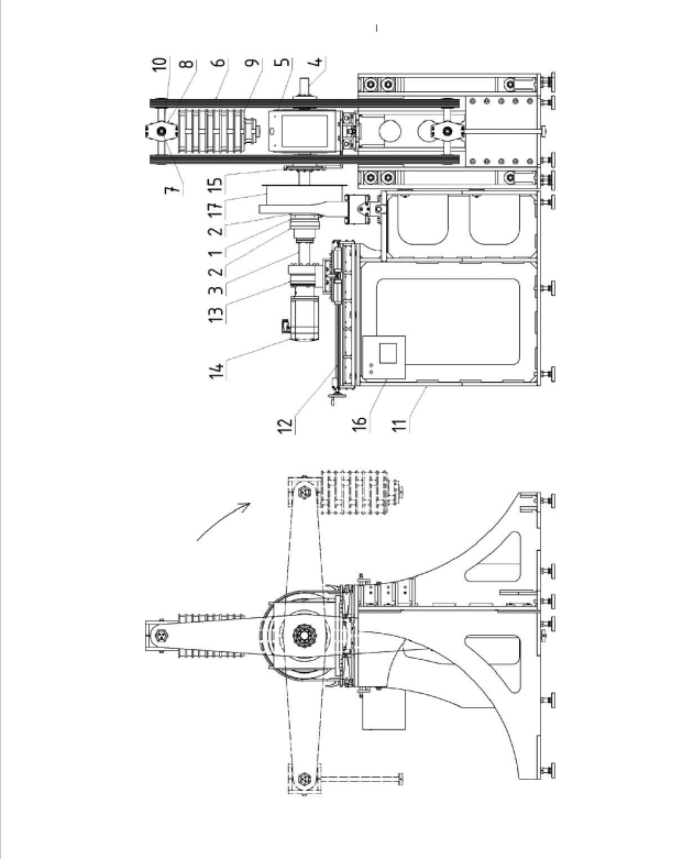
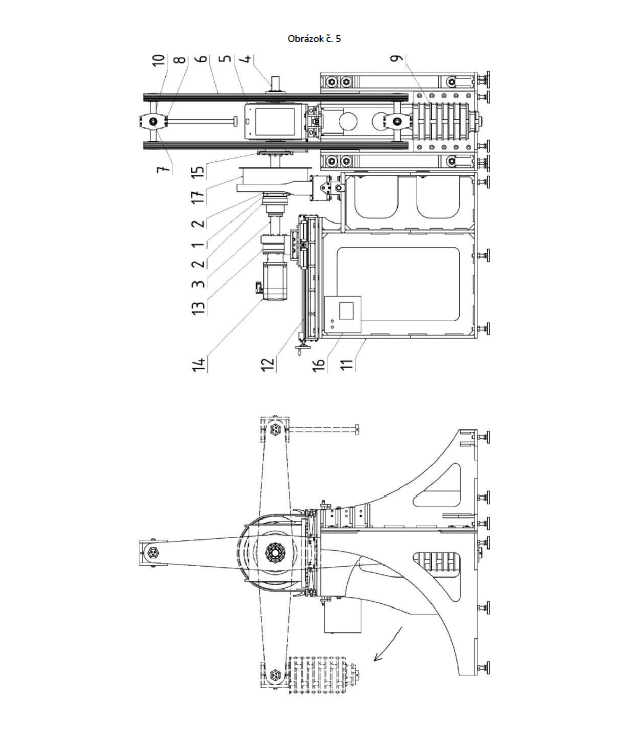
Vynález spadá do oblasti metrológie, konkrétne oblasti kalibrácie, t. j. metrologickej nadväznosti momentu sily. Spôsob statickej kalibrácie snímačov momentu sily sa uskutočňuje tak, že zaťaženie snímača sa generuje zmenou uhla sklonu ramena alebo zmenou hmotnosti závažia, alebo ich kombináciou. Výsledkom kalibrácie je, že sa porovná hodnota indikovaná snímačom s pravou hodnotou momentu sily vypočítanou zo známej dĺžky ramena, z hodnoty údaja meradla uhla a hodnoty sily vyvolanej hmotnosťou závaží.

Zariadenie na statickú kalibráciu snímačov momentu sily pozostáva z rámu s lineárnym vedením, na ktorom je umiestnená prevodovka s pohonom, ktorý je pevne spojený hriadeľom A so snímačom, rozoberateľne umiestneným medzi pripojovacím príslušenstvom. Príslušenstvo je pevne spojené s hriadeľom B, podopretým v centrálnom ložisku, a s ramenom. Na konci ramena je čap a sekundárne ložisko so závesom, na ktorom visia závažia. Meradlo uhla a brzda sú umiestnené na hriadeli B a na ráme, na ktorom je prichytená riadiaca jednotka.

Za obsah zodpovedá Martin Lipták.

Späť